Un brevet déposé par Sony pourrait annoncer une technologie surpuissante sur la PS6. L'amélioration d'une technologie déjà présente sur PS5 Pro, avec de bien meilleures performances au programme.
La PS6 n'a toujours ni date, ni annonce officielle, et pourrait même être reportée à en croire les dernières rumeurs internes. Pourtant, de plus en plus d'informations semblent fuiter à son sujet. La future console de Sony pourrait bel et bien être surpuissante, tant dans ses composants que dans certaines de ses fonctionnalités. Un nouveau brevet déposé par Sony laisse planer le doute au sujet d'une technologie très puissante. Et la bonne nouvelle, c'est que celle-ci pourrait considérablement améliorer les performances en jeu.
Si vous êtes familier du jeu vidéo sur PC, vous avez sans doute déjà entendu parler d'upscaling. La technologie s'est considérablement répandue ces dernières années avec la sortie des cartes RTX chez Nvidia. Ça s'appelle le DLSS chez Nvidia, le FSR chez AMD, mais le principe reste le même. Concrètement, il s'agit de s'aider de l'intelligence artificielle pour améliorer la résolution d'une image sans perte de performances. C'est notamment ce qui permet de s'appuyer sur l'IA pour donner un peu de répit à un processeur graphique. Et justement, ce brevet officiel déposé par Sony pourrait tout changer pour la PS6.
La technologie PSSR de la PS6 pourrait bien être révolutionnaire
On préfère écrire "familier du jeu vidéo sur PC" parce que sur consoles, la technologie d'upscaling n'y est pas encore aussi répandue. Du côté de Sony, la PS5 Pro propose depuis plusieurs années sa propre solution appelée PSSR. La technologie s'est considérablement améliorée au fil du temps, et est aujourd'hui très puissante. Un brevet déposé par Sony, et repéré par le média Tech4Gamers, pourrait cependant encore l'améliorer sur PS6, et potentiellement sur une version portable de la PlayStation 6.
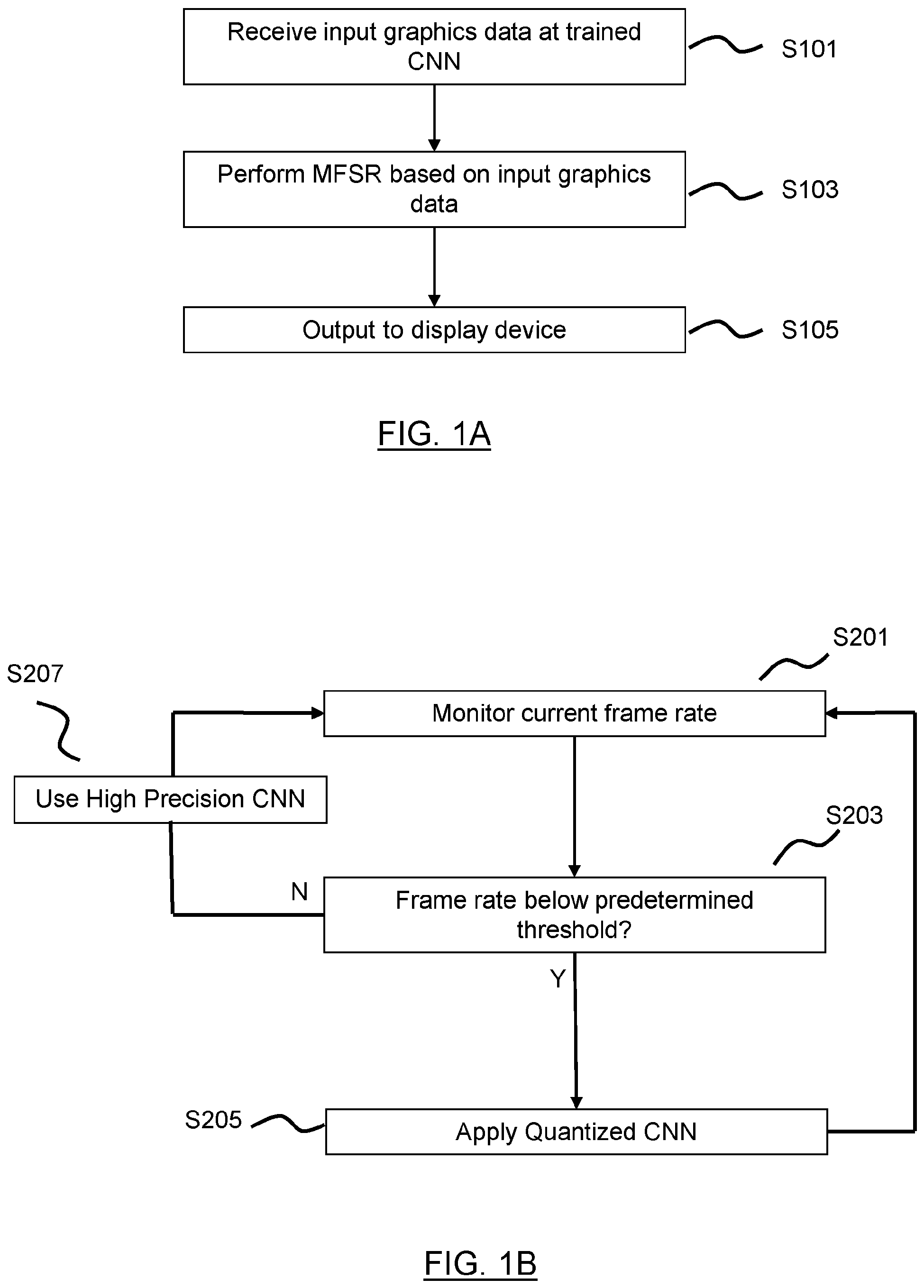
La page du brevet accessible en ligne est assez concise, et mentionne des informations techniques pas forcément très claires pour le grand public. Cependant, on y comprend que le PSSR 2.0 pourrait analyser en temps réel la charge sur le processeur graphique de la console, et adapter en conséquence la puissance de l'upscaling pendant qu'on joue.

Par exemple, lorsque la console détecte une scène plus complexe ou une séquence plus chargée visuellement, elle pourrait baisser la précision de l'IA pour améliorer le framerate du jeu. On laisse la console respirer un peu pour avoir plus d'images par seconde, avant de réadapter le niveau de finesse lorsque le jeu revient à la normale.
Mine de rien, il s'agit quand même d'une nouveauté potentiellement très intéressante. Cela pourrait permettre d'alléger la charge de la console, tout en limitant le besoin de baisser la résolution initiale d'un jeu. Avec une telle technologie, la PS6 pourrait possiblement être une vraie machine à "4K à 120 images par seconde". Mais son application la plus intéressante concernerait une éventuelle PS6 Portable, qui n'aurait de ce fait aucun mal à faire tourner des jeux plus gourmands grâce au PSSR 2.0. Et ça, c'est une excellente nouvelle.
Source : WCCFtech