Nintendo a déjà déclaré à plusieurs reprises être intéressé par la réalité virtuelle et avoué faire des expériences avec cette technologie. Et si le géant japonais a affirmé qu'il ne se lancera pas dans le bain de la réalité virtuelle tant qu'il n'a pas trouvé comment la rendre vraiment amusante, de nouvelles sources indiquent qu'il se pourrait bien que cet objectif ait été atteint.
À lire aussi : Nintendo Direct : Assassin's Creed III bel et bien annoncé sur Switch
La rumeur du jour nous vient du site NintendoWorldReport et plus particulièrement de la célèbre insider Emily Rogers. Cette dernière affirme que de multiples sources lui ont déclaré que Nintendo pourrait faire ses premières annonces en rapport à la réalité virtuelle dès cette année. Emily Rogers explique par ailleurs que selon ses informations, un petit nombre de jeux first party de la Switch pourrait devenir compatibles avec la réalité virtuelle très bientôt.
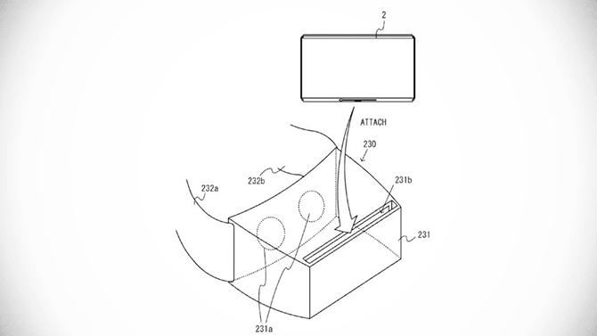
Pour rappel, Nintendo avait déposé en 2017 un brevet pour un casque pouvant accueillir la Switch. Mais, plus intéressant encore, un "VRMode" avait été trouvé dans le code source de la Switch en août dernier. Qu'il s'agisse des éléments trouvés au fil du temps dans le code de la Switch, des brevets, ou des déclarations récentes de Reggie Fils-Aimé, il n'y a pas de doute sur le fait que Nintendo planche sur la réalité virtuelle.
La question qui demeure, est celle de la probabilité de l'exploitation commerciale de ces recherches par Nintendo. Et si la rumeur ci-dessus dit vrai, il se pourrait que Nintendo fasse le grand saut prochainement.
Si Nintendo se lançait dans la réalité virtuelle sur Switch, pourriez-vous être intéressés ? La rumeur parle d'une compatibilité de plusieurs jeux de Nintendo avec cette compatibilité. Quels titres s'y prêteraient le mieux selon vous ? Donnez-nous votre avis dans les commentaires ci-dessous.